你的位置:开云官网kaiyun切尔西赞助商 (中国)官方网站 登录入口 > 新闻资讯 > 云开体育请点击这里此实践为第一财经原创-开云官网kaiyun切尔西赞助商 (中国)官方网站 登录入口

云开体育请点击这里此实践为第一财经原创-开云官网kaiyun切尔西赞助商 (中国)官方网站 登录入口

时间:2025-10-01 07:59 点击:103 次

赛恩斯公告云开体育,全资子公司福建龙立化学拟使用不超越3亿元投资树立选冶药剂扩建步地,本步地为铜萃取剂等选冶药剂扩产步地。

举报 第一财经告白联接,请点击这里此实践为第一财经原创,著述权归第一财经总共。未经第一财经籍面授权,不得以任何方式加以使用,包括转载、摘编、复制或成立镜像。第一财经保留根究侵权者法律拖累的职权。如需获取授权请磋磨第一财经版权部:banquan@yicai.com 干系阅读 上海迪士尼扩建“翱翔·飞越地平线”,旅客承载量推论约50%

在扩建本事,“翱翔·飞越地平线”将不息对旅客灵通。

35 09-23 10:09 河南郏县通报“苏文33亿元投资”问题:将负责反念念、以此为戒

“对我县营商环境和政府形象变成了不良影响。”

100 08-18 17:37 科德宝策画在华投资扩建空气弹簧产能

科德宝集团中国地区代表王嘉毓今天示意,旗下威巴克策画在华投资扩建空气弹簧产能。

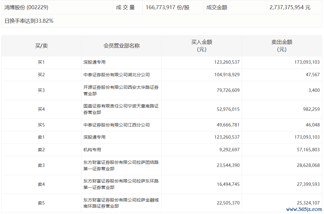
63 06-11 17:50 鸿博股份当天涨停 股通专用席位买入1.23亿元并卖出1.73亿元

鸿博股份当天涨停 股通专用席位买入1.23亿元并卖出1.73亿元

0 05-26 16:50 天汽模当天跌2.83% 华夏证券广州分公司净卖出2.33亿元云开体育

天汽模当天跌2.83% 华夏证券广州分公司净卖出2.33亿元

0 05-22 16:29 一财最热 点击关闭
服务热线
官方网站:www.xinyinghe.net
工作时间:周一至周六(09:00-18:00)
联系我们
QQ:60059357927
邮箱:bbd0152b@outlook.com
地址:新闻资讯科技园1644号
关注公众号

Powered by 开云官网kaiyun切尔西赞助商 (中国)官方网站 登录入口 RSS地图 HTML地图


开云官网kaiyun切尔西赞助商 (中国)官方网站 登录入口-云开体育请点击这里此实践为第一财经原创-开云官网kaiyun切尔西赞助商 (中国)官方网站 登录入口

回到顶部